新闻资讯
【通知】2023年河北省普通高等学校专升本考试报名公告
最新公告
根据2023年河北省普通高等学校专升本考试报名工作安排,现将有关事项公告如下:

一、通过资格审核的各类考生请于2月26日9时-3月2日17时进入系统,按照报名流程和提示步骤进行网上报名、网上缴费,请考生在规定时限内完成。
二、近期,部分考生反映未能按规定时间进行注册,为最大程度保障考生权益,经研究,未注册考生可于2月26日9时-3月1日17时进入系统注册,接受资格审核。通过资格审核后,在规定时间内进行网上报名、网上缴费。
基层服务项目人员、原建档立卡应届高职(专科)毕业生、退役大学生士兵即日起可与生源学校进行联系(生源学校联系方式可登录系统查询),按要求提交相关材料,配合进行资格审核。毕业于省外普通高职(专科)的退役大学生士兵将相关材料邮寄至省教育考试院(邮寄地址:河北省石家庄市红旗大街231号,邮编:050091,收件人:省考试院成招部,联系电话:0311-66007133)。
三、各类考生登录系统后,须按照报名流程图和提示步骤,选择报考专业,填报相关信息。确认提交后,报考信息不得修改。未确认提交的,报考信息无效。
四、考生须在规定网上报名时间内完成网上缴费,逾期不接受补缴费。未完成网上缴费的,报名无效。已进行网上缴费的,不予退费。
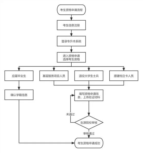
考生资格申请流程图如下:

考生资格申请流程:
考生访问河北省普通专升本考试管理系统,进入注册界面。录入身份证号、登录密码、手机号码、短信验证码进行注册。
注册成功后自动返回系统首页,使用注册时填写的身份证号和密码登录专升本系统。
登录成功后自动进入考生个人中心,点击界面底部“资格申请”阶段入口,进入“资格申请”考生类别选择界面。
选择与考生相匹配的“考生资格”点击立即申请进入资格申请信息填写界面。
按页面提示信息认真填写信息、上传佐证材料,确认无误后提交申请并等待生源院校审核(省外院校“退役大学生士兵”由省考试院负责审核)。
考生“资格申请”信息审核未通过(审核结果将以短信形式告知)的可返回重新修改并再次提交;
考生“资格申请”信息审核通过(审核结果将以短信形式告知)方具备对应资格。
注:申请“应届毕业生”资格的考生无需填写信息、上传佐证材料,但须认真核对学籍信息是否正确。
相关推荐
猜你喜欢
